SUS630
10T-SUS
六角ハイテンボルト
ステンレス鋼高力ボルト
(別名:高張力ボルト・ハイテンションボルト・ハイテンボルト)
SUS630 10T-SUS 六角ハイテンボルトとは?
六角ハイテンボルトは、ステンレス鋼高力ボルトです。
通常のボルトが中ボルトに対し、高力ボルトとは名前のとおり高い強度と、引張力を有しているボルトです。
機械的性質
F10T(JIS B 1186摩擦接合用高力六角ボルト)と同等の性質を持ち、「10T」とは高力ボルトの引張強度を意味します。10T-SUSは10Tなので、引張強度が1000N/m㎡以上です。
耐久性・耐食性
ステンレス製のため、通常の10Tと同等の耐久性に加えて、高い耐食性も発揮します。
通常の環境での長寿命化やメンテナンスフリーが要求される建物に対応できます。
POINT1 SUS630とは?
SUS630とは、析出硬化系ステンレス鋼で、概略組成は17Cr-4Ni-4Cu-Nbです。
磁性があり、耐食性と高強度を兼ね備えたステンレス鋼です。Cuを添加することで、析出硬化性を持たせた鋼種で、析出硬化により強度が上がるので、シャフト類やタービン部品などにも用いられています。
POINT2 F10Tの強度区分とは?機械的性質
F10Tとは引張強度が1000N/m㎡以上を示します。
参考資料 F10T高力ボルトの許容耐力(長期)
| 呼び | 軸径(㎜) | 断面積(㎟) | 許容剪断力kN 1面摩擦 |
許容剪断力kN 2面摩擦 |
許容引張力 kN |
|---|---|---|---|---|---|
| M12 | 12 | 113 | 17.0 | 33.9 | 35.1 |
| M16 | 16 | 201 | 30.2 | 60.3 | 62.3 |
| M20 | 20 | 314 | 47.1 | 94.2 | 97.4 |
参考資料 F10T高力ボルトの許容耐力(短期)
| 呼び | 軸径(㎜) | 断面積(㎟) | 許容剪断力kN 1面摩擦 |
許容剪断力kN 2面摩擦 |
許容引張力 kN |
|---|---|---|---|---|---|
| M12 | 12 | 113 | 25.4 | 50.9 | 52.6 |
| M16 | 16 | 201 | 45.2 | 90.5 | 93.5 |
| M20 | 20 | 314 | 70.7 | 141 | 146 |
※参照:日本建築学会「鋼構造設計基準」
POINT3:ハイテンボルトのハイテン材って?
一般的にハイテン材とは引張強度が50Kgf/mm2以上ある鋼材の総称です。
ねじの業界でいうハイテン材とは、S45C材やSCM材を表すことが多いです。
両方ともハイテン材ですが、数値や強度が異なるため、使用箇所や使用環境、求める強度によって最適な材質を選定する必要があります。
材質・表面処理
SUS630
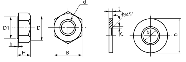
10T-SUS 六角ハイテンボルト 規格表・図面
ボルト×1 ナット×1 ワッシャー×2が付属してます

| 呼び径 | d1 | H | B | D | D1 | r | K | h | S |
|---|---|---|---|---|---|---|---|---|---|
| M16 | 16 | 10 | 27 | 25 | 26 | 1.2~2.0 | 2 | 0.4~0.8 | 30 |
| M20 | 20 | 13 | 32 | 30 | 29 | 1.2~2.0 | 2.5 | 0.4~0.8 | 35 |
| M22 | 22 | 14 | 36 | 34 | 33 | 1.2~2.0 | 2.5 | 0.4~0.8 | 40 |
| ナット | おねじ の外径 |
H | B | D | D1 | h |
|---|---|---|---|---|---|---|
| M16 M20 M22 |
16 20 22 |
16 20 22 |
27 32 36 |
25 30 34 |
25 29 33 |
0.4~0.8 0.4~0.8 0.4~0.8 |
| 座金 | dw | Dw | t | c又はr | ||
| M16 M20 M22 |
17 21 23 |
32 40 44 |
4.5 4.5 6 |
1.5 2 2 |
ラインナップ型番
| サイズ | 型番 |
|---|---|
| M16×40 M16×45 M16×50 M16×55 M16×60 M16×65 M20×50 M20×55 M20×60 M20×65 M22×60 M22×65 M22×70 M22×75 M22×80 M22×85 M22×90 M22×95 |
10TSHT16-40 10TSHT16-45 10TSHT16-50 10TSHT16-55 10TSHT16-60 10TSHT16-65 10TSHT20-50 10TSHT20-55 10TSHT20-60 10TSHT20-65 10TSHT22-60 10TSHT22-65 10TSHT22-70 10TSHT22-75 10TSHT22-80 10TSHT22-85 10TSHT22-90 10TSHT22-95 |
SUS630 10T-SUS 六角ハイテンボルトのことならお任せ!
| 強度区分 | 高張力合金鋼 強力ボルト |
S45C材高炭素鋼 強力ボルト (自動車分野) |
ステンレス製 強力ボルト (プレミアステン) |
対応する ナット 強度区分 |
|---|---|---|---|---|
| 4.8 |
4マーク |
4 4T | ||
| 8.8 |
8.8強力ボルト |
7マーク
|
A2-70
SUS304CUN |
8Tナット |
| 10.9 |
10.9強力ボルト |
SUS304CUN |
10Tナット | |
| 12.9 |
12.9強力ボルト |
12 12T | ||
| 14.9 |
| 関連LINK | ||
|---|---|---|
六角ボルト |
座金組み込みボルト |
フランジ付きボルト |
すりわり付き |
その他 |
スリムヘッド |
![]() |
コ型ボルト |
Uボルト |
フックボルト |
Lアングル用 |
足長Uボルト |
アイボルト |
チャンネル |
デンデンボルト |
FRP樹脂六角ボルト |
PTFEボルト用 |
Uボルト用プレート各種 |
絶縁プレート |
超低頭ボルト |
L型アンカーボルト |
ナット組み込み六角ボルト |
冷間蝶ボルト(H) |
長尺六角ボルト |

















































